Some posts may contain affiliate links which means our team could earn money if you purchase products from our site.

Say you’re on Tower of Terror, you may be getting nervous about the impending, sudden drops ahead. Sensing your fear, the ride changes intensity and doesn’t make such quick, long drops- but more steady, short drops to ease your fear.
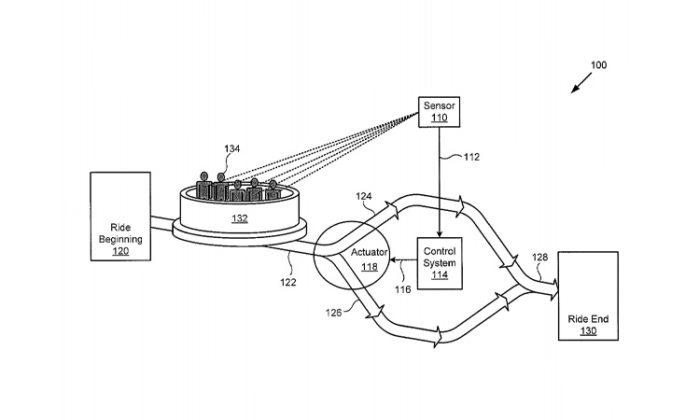
Disney has filed new patents for ride technology that could change a route for your car — or elevator or banshee — based on how frightened the guest is. The technology would be able to monitor heart rate, skin temperature, facial expressions, voice stress, gestures, and even eye movement. Just based on these factors, the technology would be able to change the course of the ride, characters, special effects, or the intensity.
“If the heart rate measurements from [a] sensor indicate that guest is frightened, control system will route car to less-frightening ride segment,” Disney patent applications say. “In contrast, if the heart rate measurements indicate that guest is bored, control system will route car to more-frightening ride segment.”
Collecting so much data about a guest might require new waivers signed by guests. Disney wouldn’t necessarily have to store the data.
Take a look at the diagrams below that featured patent in detail of how this technology would be implemented.


“Such technology might also cause guests to be a little more conscious of how they are reacting to a ride. If you close your eyes, you might be put in the slow lane.” said the Orlando Sentinel.
Disney Imagineers David Crawford, David Durham, and Jon Georges are listed as inventors on the patent applications.
Source: Dis, Orlando Sentinel

Click Here for your FREE no obligation quote!
There are still fantastic 2018 packages available. Send an email for a FREE, no obligation quote with an Authorized Disney Vacation Planner!
Are you ready to start planning your magical Disney vacation? As an agent with MickeyTravels, (designated with Platinum Earmarked status by Disney), I’ll be available to help with everything from finding your perfect package to nabbing those hard-to-get dining and Fastpass reservations. Best of all my services are absolutely FREE! Get in touch at 843-288-1130, via email at [email protected] or follow along on Facebook. Or fill out and submit the form below.
Get all the best Disney News
and more, straight to your inbox!
We don't spam. Read our privacy policy for more info.
For the BEST in Disney, Universal, Dollywood, and SeaWorld Theme Park News, Entertainment, Merchandise & More follow us on, Facebook, Instagram, and Youtube.

Let our friends at Get Away Today help you book your next Disney or Universal Vacation. They are the preferred Travel Agency of Chip and Company and Disney Addicts, and who we use ourselves.




